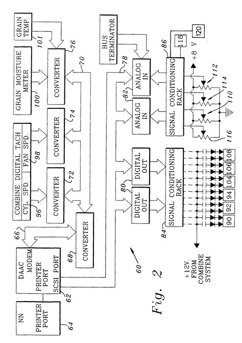
Rx73 Wiring Diagram

John Deere Rx63 Rx73 Sx75 Rx95 Sx95 Mowers Service Manual Tm 1391

John Deere Rx63 Rx73 Sx75 Rx95 Sx95 Mowers Service Manual Tm 1391

John Deere Rx73 Riding Mower Service Repair Manual By 16310109 Issuu

John Deere Rx73 Riding Mower Service Repair Manual By 16310109 Issuu

John Deere Rx73 Riding Mower Service Repair Manual Edocr

John Deere Rx73 Riding Mower Service Repair Manual Edocr

John Deere Rx75 Manual Free

John Deere Rx75 Manual Free

John Deere Sx75 Wiring Diagram Wiring Diagram

John Deere Sx75 Wiring Diagram Wiring Diagram

John Deere Rx63 Rx73 Rx75 Sx75 Rx95 Sx95 Riding Mowers Service

John Deere Rx63 Rx73 Rx75 Sx75 Rx95 Sx95 Riding Mowers Service

John Deere Rx63 Rx73 Rx75 Sx75 Rx95 Sx95 Riding Mowers Service

Related products for john deere rx63 rx73 tx75 sx75 rx95 sx95 lawn tractors service manual pdf.

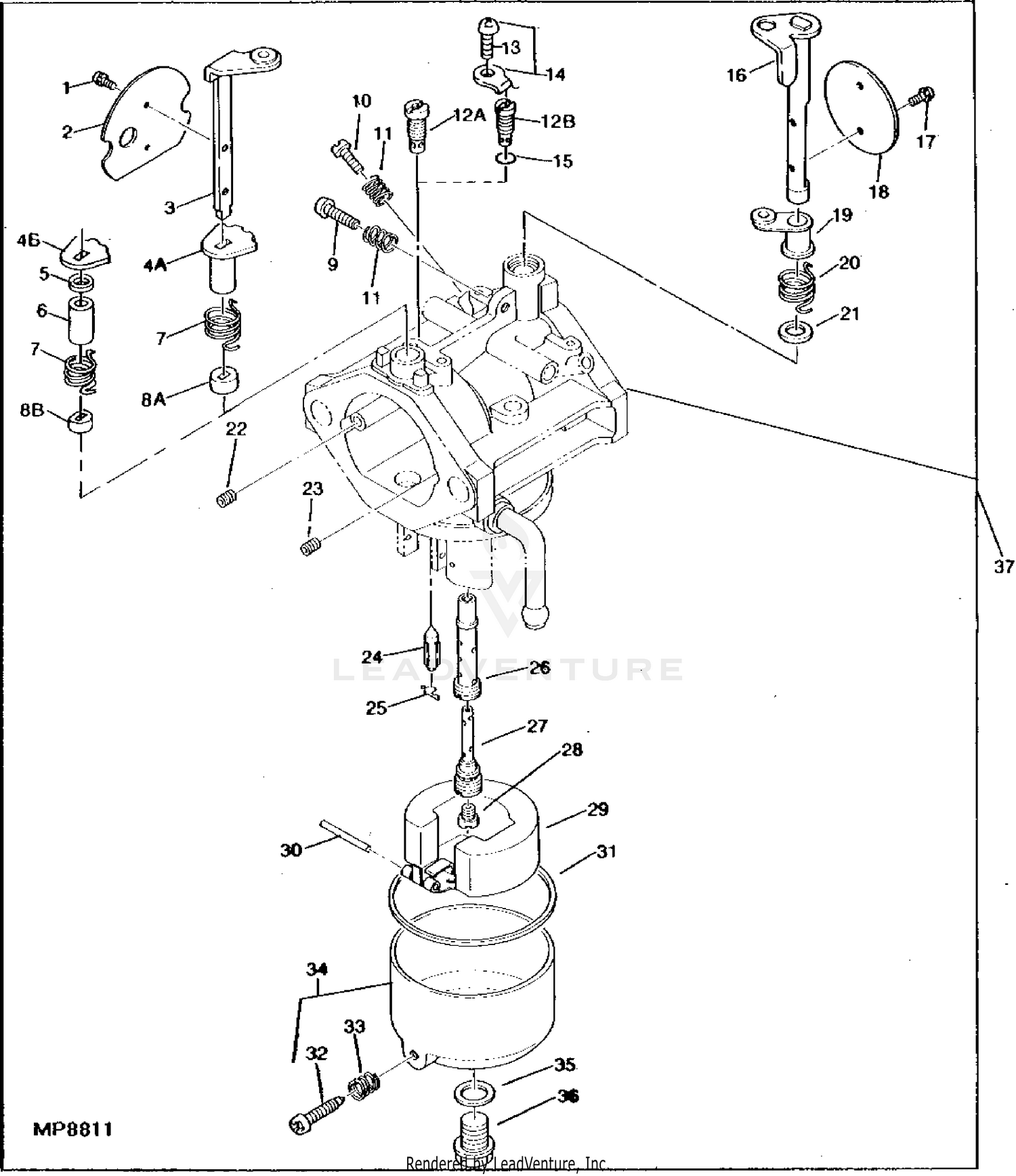
Rx73 wiring diagram. John deere parts advisor 2020 offline. John deere rx63 rx73 sx75 rx95 sx95 mowers service manual tm 1391 contents. The claas parts catalog features step by step service procedures repair illustrations detailed wiring diagrams manufacturer specifications and are easy to follow. To john deere dealers filing instructions tm 1391 july 1988 rx63 rx73 tx75 sx75 rx95 sx95 riding mowers this is a complete revision of tm 1391.

They are specifically written for the do it yourself er as well as the experienced mechanic john deere rx73 riding mower service repair workshop manual provides step by step. Recoil start pc2106 m0rx63x420001 475000 1987 rx63 riding mower 6 h p. Illustrations instructions diagrams for step by step remove and install assembly and disas. Service manual john deere rx63 rx73 rx75 sx75 rx95 sx95 riding mowers tm1391 repair manual.

By admin24 octombrie 15 2012. This is the highly detailed factory service repair manual for thejohn deere rx73 riding mower this service manual has detailed illustrations as well as step by step instructions it is 100 percents complete and intact. Factory repair manual for john deere rx sx series rx63 rx73 tx75 sx75 rx95 sx 95 riding mowers. Recoil start pc2106 m0rx63x010001 100000 1990 rx63 riding mower 6 h p.

Section 10 safety and specifications group 05 safety group 10 repair specifications section 20 engine repair. Rx63 riding mower 6 h p. This manual includes illustrations like pictures and diagrams which you can help you determine the installation location spare parts etc. Please discard old tm 1391 dated february 1987.

Installation Using The Iso Cable Ca 160 Nokia Car Kit Ck 200

Installation Using The Iso Cable Ca 160 Nokia Car Kit Ck 200

Rx73 Wiring Diagram E5 Wiring Diagram

Rx73 Wiring Diagram E5 Wiring Diagram

Rx73 Wiring Diagram Fokus Repeat24 Klictravel Nl

Rx73 Wiring Diagram Fokus Repeat24 Klictravel Nl

John Deere Rx73 Riding Mower 9 H P Recoil Start Pc2106

John Deere Rx73 Riding Mower 9 H P Recoil Start Pc2106

John Deere Rx Sx Series Riding Mowers Tm1391 Pdf Manual

John Deere Rx Sx Series Riding Mowers Tm1391 Pdf Manual

Pin On John Deere Manuals

Pin On John Deere Manuals

Https Weingartz Com Illustrated Diagram John Deere Parts Lookup Model Sx95 Riding Mower 12 5 H P Electric Start Pc2106 M0sx95x010001 100000 1990 Sx95 Riding Mower 12 5 H P Electric Start Pc2106 M0sx95x420001 475000 1987 Sx95 Riding Mower 12 5 H P Electric Start Pc2106 M0sx95x475001 595000 1988 Sx95 Riding 4275 1152

Https Weingartz Com Illustrated Diagram John Deere Parts Lookup Model Sx95 Riding Mower 12 5 H P Electric Start Pc2106 M0sx95x010001 100000 1990 Sx95 Riding Mower 12 5 H P Electric Start Pc2106 M0sx95x420001 475000 1987 Sx95 Riding Mower 12 5 H P Electric Start Pc2106 M0sx95x475001 595000 1988 Sx95 Riding 4275 1152

John Deere Lx188 Lawn Garden Tractor Service Repair Manual

John Deere Lx188 Lawn Garden Tractor Service Repair Manual

Ck 200 Nokia Car Kit Ck 200 User Manual 9220825 En1 Fm Microsoft

Ck 200 Nokia Car Kit Ck 200 User Manual 9220825 En1 Fm Microsoft

Pin On John Deere Manuals

Pin On John Deere Manuals

Pin On John Deere Manuals

Pin On John Deere Manuals

Rx73 Wiring Diagram Main Repeat24 Klictravel Nl

Rx73 Wiring Diagram Main Repeat24 Klictravel Nl

Pin On John Deere Manuals

Pin On John Deere Manuals

Pin On John Deere Manuals

Pin On John Deere Manuals

Source : google.com

Random Posts